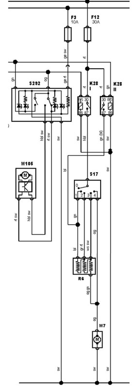
Малко описание на нещата от схемата според Autodata:S292- AC/heater function control panelK28- heater blower relayM105- AC/heater recirculation flap motorS17- AC/heater blower motor switchR6- heater blower speed resistorM7- AC/heater blower motorOт тук ясно се вижда, че 4-та степен е директна от ключа. А и при всички случаи на останалите три степени от конектора на ключа трябва да имаш същото напрежение, като на 4-та.
Реклама
Collapse
Съобщение
Collapse
No announcement yet.
Проблем с моторчето на парното на Браво.
Collapse
X
-
Интересно защо термопрекъсвачът го няма на схемата... Само резисторите са.Но пък може би не го смятат за достатъчно важен.....Между другото разпоих въпросния термопредпазител и ето какво пише на него:Предполагам че последното е температурния показател и гласи 167 градуса по Целзии.Сега като съм го свалил, ще ида да потърся същия по магазините. Дано да се намери без особни ядове.Код:MICROTEMPEEFAMCG4A01Tf 167C
Коментар
-
Аз намерих време, ама като гледам нещата са отишли доста напред. По повод писаното преди исках да кажа, че ако има изгорял резистор, то задължително щеше да се види отвън (и да се усети по мирис). При тези мощни резистори, тока, който тече през тях е голям и съответно се отделя доста топлина. Ако резистора тръгне да прегрява най-напред обвивката ще стане светло кафява, което е признак, че се отделя повечко от нормалното топлина. Като гледх снимките ти такъв признак не се вижда :D . Тази термозащита има същите защитни функции както при сушоарите. Когато въпросния уред прегрее изключва и докато не се охлади не може да се включи отново. За съжаление въпросните термозащити се скапват бързо. В интерес на истината вентилатора на парното може да работи и без нея, но въобще не ти го препоръчвам. За да сложат въпросната защита явно са "икономисали" от мощните съпротивления - т.е. трябвало е да сложат по-мощни. Тук обаче въпроса опира до място и т.н. И в случая си връзват гащите с въпросната термозащита. Когато отначало пуснеш парното в студена кола всичко е о.к. Щом позагрее нормално намаляваш оборотите на вентилатора. След като се стопли колата, дори и да задейства термозащитата т.е. да изключи вентилатора ти я ще усетиш, я не. Пожелавам ти успех в търсенето
FIAT Tipo Completo S 1.4 i.e. 160EP55A 836A4.000
ECU BOSCH 261 203 511; газова BRC
Коментар
-
а ето ти и инфо: http://www.thermodisc.com/productdet...p?ProductID=34http://www.thermodisc.com/loadMedia....&ReturnPage=14fcuk написа:Код:MICROTEMPEEFAMCG4A01Tf 167C
Tempra 1.6 i.e. S Lybra 1.8 vvt lx 088 9 242 369
Коментар
-
Идеално, мерси много. Очевидно този термопрекъсвач (TCO) е серия G4. Пише, че веднъж щом е дошло пренагряване,термопрекъсвачът си заминава и трябва да се смени. Работи на 10 ампера ток.Така както го разбирам Th=142C е работната температура на прекъсвача - на нея той може да издържи продължителна време без проблем. След това при температура Tf=167C прекъсвачът се отваря, за да шунтира пренагрятата верига.И накря при температура Tm=210C прекъсвачът най-вероятно спира да функционира. Температурата му идва в повече и на него. При всички случаи стигне ли се до 167C, прекъсвачът е за смяна, защото е от типа one shot operation cut-off, т.е. веднъж отвори ли се, повече не се затваря. Най-вероятно в момента той е отворен и шунтира изцяло веригата с резисторите. Гледам новите перкъсвачи ги правят прозрачни като бушони, за да се вижда дали прекъсвачът се е отворил или не.Ето два въпроса:1. Ако се стигне до температура 167 градуса, няма ли припоят, с който съм запоил прекъсвача да се разтопи и прекъсвачът просто да изпадне. Има ли някакъв специален метод за запояване на такъв прекъсвач?2. Насочете ме, моля ви, към някой магазин в центъра на Сф, където продават подобни неща.Код:Max Open Temp Tf - 167CHolding Temp Th - 142CMaximum Overshoot Temp Tm - 210CTm - temperature up to which the TCO will not change status.Температура до която прекъсвачът не променя състоянието си.Tf - Functioning open temperature tolerance: +0, -5°CТолеранс на работна температура в отворен режим.Th - Holding temperature: Maximum continuous exposure temperatureМаксимално продължително излагане на температура
Коментар
-
Моля, помагаме с каквото можем ... а някада по онези сайтове мисля че беше описан монтажа ... или греша .. погледни пак ... Успехиfcuk написа:Ето два въпроса:1. Ако се стигне до температура 167 градуса, няма ли припоят, с който съм запоил прекъсвача да се разтопи и прекъсвачът просто да изпадне. Има ли някакъв специален метод за запояване на такъв прекъсвач?2. Насочете ме, моля ви, към някой магазин в центъра, където продават подобни неща.
Tempra 1.6 i.e. S Lybra 1.8 vvt lx 088 9 242 369
Коментар
-
Re:Термопредпазител...
1.Най-добрия метод за монтаж е точкова заварка-такива малки апаратчета имат фирмите,занимаващи се с рециклиране на батерии на GSM и лаптопи...Най-лесния начин в домашни условия е студена връзка-контакт от лустър клема или кабелни тръбички/клипсове/стискат се със специални/или обикновени/ клещи.Запояването е най-неприемливия вариант за монтаж,предвид нагряването,съизмеримо с раб.температура-скапва се или си променя характеристиката ! Запояването-втория адрес от Ivo-пише как става,но е капризен вариант ...особено топлоотвеждането...2.В първия магазин от бранша в Бургас ,в който проверих,този чарк струва 1.20 лв...Успех !fcuk написа:1. Ако се стигне до температура 167 градуса, няма ли припоят, с който съм запоил прекъсвача да се разтопи и прекъсвачът просто да изпадне. Има ли някакъв специален метод за запояване на такъв прекъсвач?2. Насочете ме, моля ви, към някой магазин в центъра, където продават подобни неща.
Ex. Grande Punto Driver
Коментар
-
Наистина не съм дочел. В материала пише за три вида монтаж.Със запояване, със заварка или със спомагателни средства.Първият изисква поставяне на радиаторче за топлоотвеждане,вторият изисква специално оборудване, както и отново евентуално поставянена радиаторче.За последния пише, че не е така надежден, заради възможността от повишено съпротивление и съответно намаляване на температурата, която стига до термопрекъсвача, т.е. няма да върши работата си качествено. Но все пак е допустимо като вариант за монтаж. Ето извадка на този параграф.
Коментар
-
Ти нагряваш краищата при запояване, не центъра на елемента!fcuk написа:Щом това е температурата на топене на припоя, значи човката на поялника развива и повече.Тоав означава, че със сигурност ще унищожа термопрекъсвача, ако го запоявам без предпазни топлотвеждащи мерки.Frontera Sport, X20SE март 1998
Коментар
-
Въобще не се притеснявай!!! Поначало човката на поялника загрява около 300 градуса, за да разтопи припоя, но това не означава, че за да запоиш елемента същия ще се нагрее до 300 градуса. Освен това самите елементи са предвидени да издържат определено време на висока температура, когато се запояват върху печатни платки в пещ. Не трябва дълго да задържаш поялника, когато запояваш, от друга страна пък има възможност да направиш т.нар. "студена спойка" ако не задържиш поялника достатъчно дълго. Можеш да познаеш добрата спойка, когато калая се е "разлял" добре. В противен случай става на топче или се натрупва без да върши работа. За да избегнеш този момент е добре предварително да зачистиш краищата на елементите, които запояваш. Това най-добре става с остро ножче до появата на метален блясък. Обикновено краищата на елементите са с такова покритие, че да "хващат" директно калай без да е необходимо зачистване, но с течение на времето те оксидират и не хващат добре калай. За това по-добре ги позачисти.УспехП.С. Използвай тинол, но не е лошо да имаш и отделно колофон.fcuk написа:Щом това е температурата на топене на припоя, значи човката на поялника развива и повече.Тоав означава, че със сигурност ще унищожа термопрекъсвача, ако го запоявам без предпазни топлотвеждащи мерки.FIAT Tipo Completo S 1.4 i.e. 160EP55A 836A4.000
ECU BOSCH 261 203 511; газова BRC
Коментар
-
Купих днес термопредпазител - 2 лв бройката. Абсолютно същия е, същата марка и маркировка.Взех си два за всеки случай. Занесох го в едно сервизче дето рециклират всякакви акумулаторни батерии,там имали точно такова апаратче за точково заваряване, за което говореше Веско. Апаратчето се казва "пункт-швайт" май или нещо подобно.И представа си нямаха от термопредпазители, обаче изказаха притеснение дали апартчето им няма да е твърде слабо, за да свърши работата. Все пак им го оставих.Между другото замерих го новото термопредпазителче, съпротивлението му е нула, за разлика от това на старото, което беше безкрайност.Ако не се справят в това сервизче, ще пробвам с поялника на студена спойка в края на краищата.А и дължа извинение на брат Джон за забележката ми в един от предишните ми постове, че мултицета няма позиция "на верига". Днес разбрах, че има. Маркирана е на мултицета с знака, с който се отбелязват светодиодите по печатните платки.
Коментар
Реклама
Collapse

Коментар