Колеги,преди три дена ми излезна този надпис на дисплея,ANTIPINCH SENS-FRONT със стрелката че е от лявата страна и точно на другия ден вечерта след тръгване от работа нещо изгоря и един гаден пушек от двигателя.Загасих колата и всичко утихна,след 15 минути запалих с рев на двигателя до 6000 оборота.Някой ако може да помогне.Редактирано заглавие.Модераторски екип на fiat-bg.org
Реклама
Collapse
Съобщение
Collapse
No announcement yet.
Надпис на дисплея на Стило: ANTIPINCH SENS-FRONT
Collapse
X
-
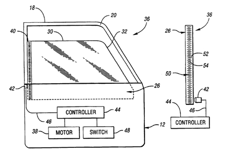
На Бравата нямам тая екстра, но на другата имах проблем с управлението на стъклата.Има сензор (рейка, нещо подобно на инкрементален сензор) и контролера "знае" до колко е вдигнато стъклото и може да го управлява. Има си процедура за обучение на контролера.Като видиш картинката - ще ти стане ясно.При теб драмата с оборотите едва ли е вследтвие на тая екстра. По-вероятно е проблем с ел.инсталацията, но най-добре върви в читав сервиз. Може е да греша де ... дано се оправиш бързо ...Renault Clio 1.5 dci / Fiat Brava 105JTD / 1999 год.
http://forum.fiat-bg.org/viewtopic.php?t=43195
Реклама
Collapse

Коментар